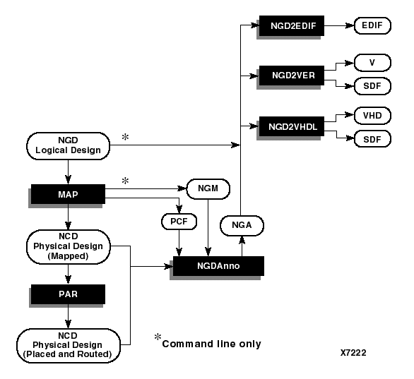
Figure 15.1 Back-Annotation

Back-Annotation figures/x7222.gif