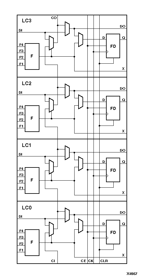
Figure 1.3 XC5200 CLB Structure

XC5200 CLB Structure figures/x4957n.gif