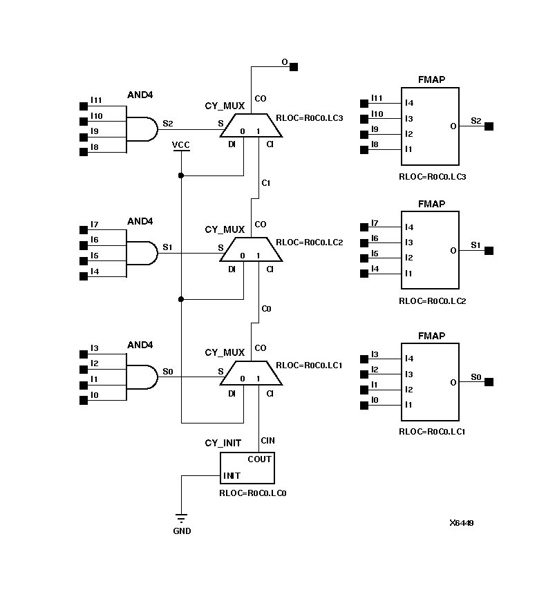
Figure 7.31 NAND12 Implementation XC5200

NAND12 Implementation XC5200 figures/x6449n.gif